Accessoires

Voorts heeft ALTI een groot assortiment van toebehoren voor diverse kraan modellen.
De meeste toebehoren zijn uitwisselbaar voor alle merken en modellen.

Doch alvorens u een bestelling plaatst, vraag het ons nogmaals te controleren of een en ander bij elkaar past, om teleurstelling te voorkomen.

De meeste delen kunnen door speciaal vervaardiging niet aan de fabrikant worden geretourneerd. Hieronder zijn enkele mogelijkheden vermeld, maar ook andere speciaal kunnen voor u vervaardigd en geleverd worden.

Accessoires voor KEGIOM kranen

-- Lier met 990 kg trekkracht bij enkele kabel
-- Lier met 1200 kg trekkracht bij enkele kabel
-- Radiografische besturing IMET met 3 of meerdere functies
-- Werkbak voor 1 persoon, CE gekeurd voor functie hoogwerker
-- Werkbak voor 1 persoon, niet CE gekeurd, voor functie hoogwerker
-- Set vorken voor functie verreiker
-- Schepbak voor functie laadschop
-- Andere stabilisatoren, bijvoorbeeld ivm grafzerken

Accessoires voor MANOTTI kranen

-- Vaste stabilisatoren ''FS'' serie

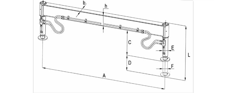
Model

Ton/M

Max. last
daN = KG

A

b

h

C

D

E

F

L

Gewicht (KG)

S = standaard        O = optie

I

R

PSF

PSP

CE

FS06.160
FS06.180
FS10.200
FS22.200
FS36.210

6-15
6-10
6-10
13-22
18-36

3750
3000
2500
5600
7550

1600
1800
2000
2000
2100

80
80
80
100
100

120
120
120
180
200

410
395
475
510
650

330
330
400
450
550

70
70
70
85
95

35
35
35
45
55

513
513
582
670/727 (K)
690/840(L)

60
65
80
115
150

O
O
O
O
O

-
-
-
O
-

O
O
O
O
S

O
O
O
O
O

O
O
O
O
O

-- Handmatig uitschuifbaar ''MS'' serie

Model

Ton/M

Max. last
daN = KG

A

B

b

h

C

D

E

F

L

S

XL

R

I

PSF

PSP

CE

Gewicht (KG)

S = standaard        O = optie

MS06.260
MS06.280
MS10.330
MS22.330
MS22.440
MS36.330

3-6
3-6
6-10
14-26
14-26
19-40

1350
1600
3000
6500
6600
9100

1600
1800
2100
2100
2100
2100

2600
2800
3300
3300
4400
3300

80
80
100
102
200
120

120
120
150
204
200
202

425
425
460
500
500
665

330
330
400
450
450
550

70
70
70
85
85
95

35
35
35
45
45
55

540
440
610
560
560
710

534(R)
534(R)
-
727(R)
700
865

90
90
120
180
290
235

O
O
O
O
O
O

O
O
-
O
-
-

O
O
O
O
O
S

O
O
O
O
O
O

O
O
O
O
O
O

-- Hydraulisch uitschuifbaar ''HS'' serie

Model

Ton/M

Max. last
daN = KG

A

B

b

h

C

D

E

F

L

S

XL

R

I

PSF

PSP

CE

Gewicht (KG)

S = standaard        O = optie

HS22.330
HS22.440
HS36.330
HS36.470
HS45.500

14-26
14-26
19-40
19-40
25-54

6500
6600
9100
9100
10500

2100
2100
2100
2100
2200

3300
4400
3300
4700
5000

102
200
120
234
232

204
200
202
206
250

195
195
265
275
240

450
450
550
550
550

85
85
95
95
95

45
45
55
55
55

560
560
635
720
720

700
700
785
870
870

200
330
255
380
430

O
O
O
O
O

-
-
-
-
-

O
O
O
S
S

O
O
O
O
O

O
O
O
O
O

HS65.500
HS75.590
HS85.610
IARHS90.690IAR
HS115.700IARHS115.800IARHS150.800IARHS190.840IAR

31-67
46-80
46-80
36-80
42-106
42-106
106-150
130-200

14000
17800
17800
17800
17800
15200
19000
25000

2200
2345
2345
2310
2400
2400
2400
2300

5000
5900
6045
6910
7000
8000
8000
8400

232
325
320
378
357
357
357
500

301
320
325
335
322
322
322
330

245
234
30
85
104
93
93
93

650
590
590
590
590
590
590
590

105
141
141
141
141
141
141
141

65
90
90
90
90
90
90
90

820
760
760
760
760
760
760
760

950
910
910
910
910
910
910
910

530

820
820
950
850
990
1200
1550

O
O
S
S
S
S
S
S

-
-
-
-
-
-
-
-

S
S
S
S
S
S
S
S

O
O
O
O
O
O
O
O

O
O
O
O
O
O
O
O

R

PSF-PSP

Niet CE

CE

Legenda

I = Hydraulische kleppen
R = Draaibare stabilisator
PSF = IJzeren stabilisator voet
PSP = Plastic stabilisator voet
CE = CE gekeurd
S = Korte stabilisator

Alle informatie is onder voorbehoud van wijzigingen.